DTC U3003:16 [BLIND SPOT MONITORING (BSM) CONTROL MODULE]
| Description |
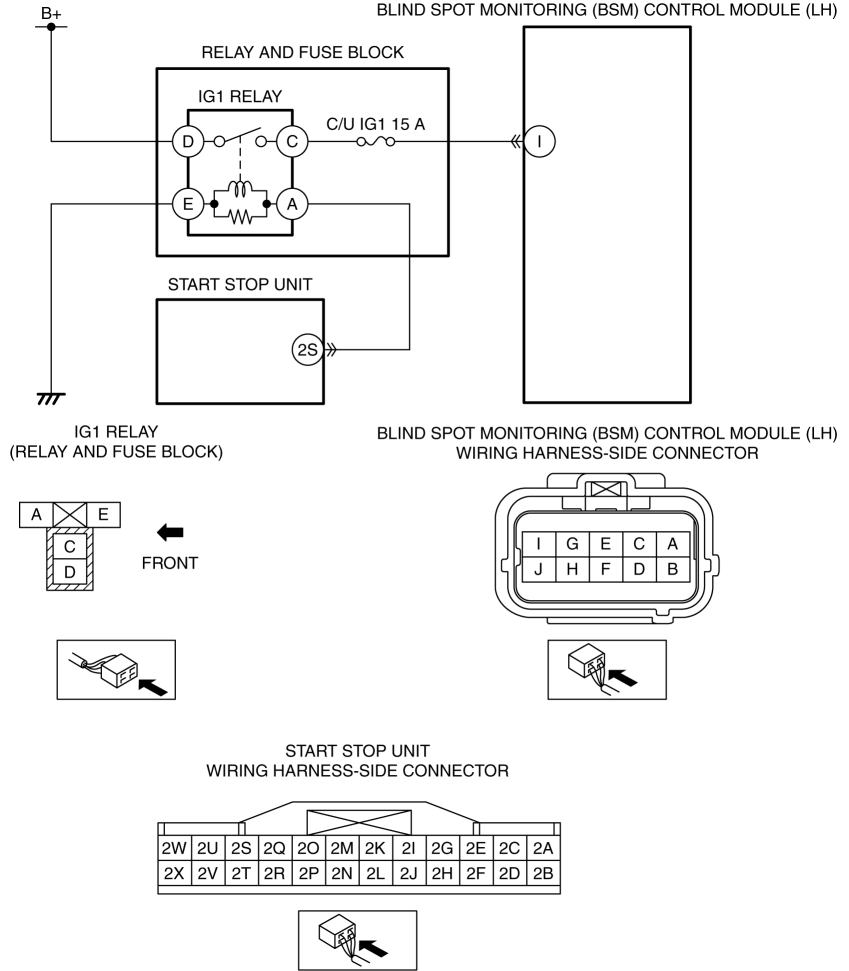
Blind spot monitoring (BSM) control module (LH) low power supply voltage input |
| Detection condition |
|
| Fail-safe |
|
| Possible cause |
|
| Step |
Inspection |
Action |
|
| 1 |
VERIFY PCM DTCs
|
Yes |
Repair or replace the malfunctioning part according to the applicable DTC troubleshooting. |
| No |
Go to the next step. |
||
| 2 |
INSPECT BATTERY
|
Yes |
Go to the next step. |
| No |
Recharge or replace the battery, then go to Step 6. (See BATTERY RECHARGING.) |
||
| 3 |
INSPECT GENERATOR
|
Yes |
Go to the next step. |
| No |
Replace the generator, then go to Step 6. |
||
| 4 |
INSPECT BLIND SPOT MONITORING (BSM) CONTROL MODULE (LH) CONNECTOR CONDITION
|
Yes |
Go to the next step. |
| No |
Repair or replace the connector, then go to Step 6. |
||
| 5 |
VERIFY BLIND SPOT MONITORING (BSM) CONTROL MODULE (LH) POWER SUPPLY VOLTAGE
|
Yes |
Go to the next step. |
| No |
Inspect the C/U IG1 15 A fuse.
Go to the next step. |
||
| 6 |
VERIFY THAT REPAIRS HAVE BEEN COMPLETED
|
Yes |
Repeat the inspection from Step 1.
Go to the next step. |
| No |
Go to the next step. |
||
| 7 |
VERIFY IF OTHER DTCs DISPLAYED
|
Yes |
Repair or replace the malfunctioning part according to the applicable DTC troubleshooting. (See DTC TABLE [BLIND SPOT MONITORING (BSM) CONTROL MODULE].) |
| No |
DTC troubleshooting completed. |
||
